随着深圳着力打造立体城市全球典范,构建“地上+地下+低空+ 海洋”四维空间体系,沿海填海造陆区域交通工程日益增多。复杂地质条件下桩基抗压、抗拔承载力同步检测,长期面临流程繁琐、周期长、成本高的痛点,影响施工效率,制约项目推进。城交检测(深圳市交通工程试验检测中心有限公司)作为深城交科技集团股份有限公司(以下简称“深城交”)旗下城市生命线工程业务核心子公司,依托自研专利技术,创新同步静载法,破解行业痛点,高质量完成了滨海大道改造工程桩基检测项目,严控施工安全,助力项目提速增效,全力保障重点项目落地,也为城市基建高质量发展筑牢防线。


图片


痛点分析


以滨海大道(总部基地段)交通改造工程为例,传统检测存在三大痛点:


1. 试验流程繁琐,设备部署难度大

需分别设置两组反力支撑架与施力装置,无法一次性完成抗压、抗拔检测,设备拆装、场地整平需反复进行,不仅占用大量施工空间,更因工序交叉增加现场协调难度。


2. 检测耗时长久,严重影响施工进度

抗压、抗拔检测需分两次独立开展,单次试验周期长,两次试验累计耗时大幅拉长,直接阻碍整体施工节点推进,影响整体施工进度。


3. 试验成本高昂,资源浪费问题突出

双重设备投入意味着需额外配备检测人员、吊装设备及材料,重复施工操作导致人力、物力、财力成本显著增加,既不符合工程降本增效的要求,也造成资源闲置与浪费,与项目高效施工理念相悖。


针对这三大痛点,城交检测立足“诚信、科学、公正、准确”准则,自研抗压抗拔承载力同步静载试验专利技术,一套设备、一次试验即可同步完成两项检测,彻底破除传统检测局限,为复杂地质桩基检测提供高效解决方案。


解决方案


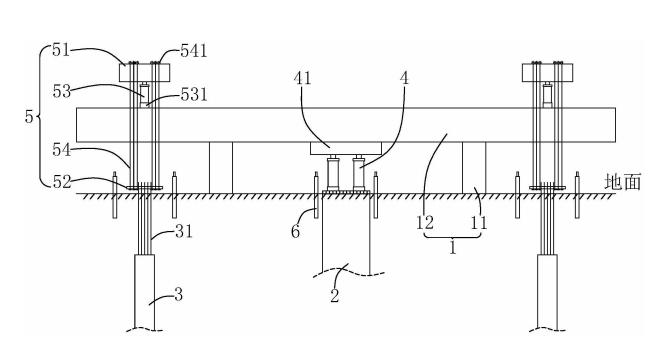
随着沿海复杂地质交通工程增多,桩基双重性能检测难题日益凸显。城交检测针对此类重难点,自主研发抗压抗拔承载力同步静载试验锚桩反力系统及试验方法并获得国家发明专利。该方案在锚桩法基础上,将锚桩替换为受检抗拔桩,中间设置试验抗压桩,摒弃传统分两次试验的模式,一次试验同步获取抗压、抗拔两项核心性能参数,既节省成本,又提升效率,为解决复杂地质条件下桩基双重性能检测提供了新思路。


图片


实践案例


深圳滨海大道(总部基地段)交通改造工程是深圳市重点交通项目,西起沙河东路,东至广深高速滨海立交,包含约 1.2 公里下沉隧道,地处沿海填海造陆区域,土层含水量高、土质松软,地质条件极其复杂且具有极强代表性。该工程桩基检测需同时获取抗压、抗拔两项核心性能参数,传统静载试验需分组开展、流程复杂。


城交检测采用自主研发的同步静载专利技术,实现一次试验、双重检测,大幅简化试验流程、缩短试验检测时长约60%、降低试验检测成本约30%,试验成果得到市交通质监站、市交通公用设施建设中心及参建各方的共同认可,进一步印证了该专利技术的先进性与实用性。


图片

抗压抗拔承载力同步静载试验原理

图片
图片

传感器安装

图片

传感器性能检测

图片

试验现场

图片

项目顺利验收


核心优势

城交检测深耕工程检测领域多年,坚持技术创新驱动,累计斩获专利56项,参编行业标准10部,技术实力稳居行业前列。作为深圳市交通工程监督检测机构,承接全市重大交通项目检测任务,秉持严谨准则,兼顾检测精度、施工效率与安全,为各类基建工程提供坚实技术保障。


城交检测

城交检测(深圳市交通工程试验检测中心有限公司)成立于1996年,国家高新技术企业,也是深城交城市生命线工程业务核心子公司,拥有广东省工程技术研究中心等专业创新平台。作为深圳市交通行业监督检测机构,公司承担市政府投资重大交通建设项目的监督检测、交(竣)工检测及技术咨询服务,业务涵盖工程检测、道路桥梁调查评价、智慧监测、技术咨询等,覆盖交通、房建、水利三大工程检测领域,搭建起工程检监测、工程咨询全链条服务体系,为工程全周期提供高标准技术支撑。